插入式靶式流量計

- AK-SX7083流量積算儀
- ◆ 本儀表適合于蒸汽和一般氣體的測量,可用于內部計量和貿易計量。 ◆ 本儀表符合新版流量積算儀檢定規程《JJG1003-2016》 ◆ 本安裝使用手冊是以具備一定的流量計經驗知識為對象編寫的,使

- 數顯壓力表
- AK-SXYLB數字壓力表為全電子結構。前端采用高精度壓阻式壓力傳感器,輸出信號由高精度,低溫漂的放大器放大處理,送入高精度的A/D轉換器,轉換成微處理器可以處理的數字信號,經過運算處理,

- 乙酸乙酯液位計
- 乙酸乙酯液位計是公司引進吸收國外同類產品,并加以提高的產品。系列產品可以做到高密封、防泄漏和在高溫、高壓、高粘度、強腐蝕性條件下可靠地測量液位,全過程測量無盲區
插入式靶式流量計
AK-SBL系列插入式靶式流量計是在傳統隔離膜片式靶式流量計基礎上,將應變傳感器應用到靶式流量計上,同時采用zui新數字技術和微電子技術,將檢測到的傳感信號處理成與流量成正比的4~20mA信號輸出,并通過雙排大液晶同時顯示瞬時流量和累計流量,使傳統的靶式流量計無論在結構上和性能上都有顯著提高。
一、產品參數
口 徑:DN15~DN500mm
公稱壓力:0.6~42MPa
工況溫度:-200℃~+500℃
精 度:±0.2~±1.5%FS
量 程比: 1:15
殼 體:碳鋼;不銹鋼(或按用戶要求協商提供)
供電方式:內置3.6VDC鋰電池(兩年換一次,不帶信號輸出);外供24VDC(帶信號輸出)
輸出信號:4~20mA二線制;脈沖0~1000HZ;RS232/RS485(或按用戶要求協商提供)
防護等級:IP65;IP67
防爆標志:本安型ExiallCT4;隔爆型ExdllCT4
執行標準:Q/BET05-06
表頭顯示:累積流量;瞬時流量;工況溫度;工況壓力(溫壓補償式才有);棒狀滿量程百分比;故障自檢
連接法蘭:國標(GB/T)系列;化工(HG)系列;機械(JB/T)系列;亦可按客戶要求協商制作
二、典型應用
氣體類:
煤氣、空氣、氫氣、天然氣、氮氣、液化石油氣、過氧化氫、煙道氣、甲烷、丁烷、氯氣等
液體類:
重油、石蠟、瀝青、硫酸、食用油、渣油、丙酮、柴油、礦井水、洗滌劑、醬油、汽油、硅油、糖漿、溶劑、香水、海水、航空煤油、皂酮水、葡萄糖、菜油酸、鹽水、漿糊、墨水、冷卻劑、乙二醇、礦物油 、液態糖、鹽酸、汽車涂料、樹脂、牛油、 菜油、液氧、洗發液、牙膏、凝膠、燃油、牛奶、漂白劑、調節劑、蘇打、添加劑、清洗劑、堿性、氨、船用油、化學試劑、煤油、甘油、染料、水、硝酸 、高沸點有機溶液、豬油、添加劑、酒精、油、乙烯、聚丙烯、甲笨等
蒸汽類:
過熱蒸汽、飽和蒸汽
三、產品特點
·整臺儀表在設計中無可動部件,插入式結構,拆卸方便
·可選用多種防腐及耐高低溫材質(如哈氏合金,鈦等)
·整機可做成全密封無死角(焊接形式),無任何泄漏點,可耐42MPa高壓
·儀表內設自檢程序,故障現象一目了然
·傳感器不與被測介質接觸,不存在零部件磨損,使用可靠
·可就地采用干式標定方法,即采用砝碼掛重法。單鍵操作可完成標定
·具有多種安裝方式供選擇,如選擇在線插入式,安裝費用低
·具有一體化溫度、壓力補償,直接輸出質量或標方
·具有可選小信號切除、非線性修正、濾波時間可選擇
·能準確測量各種常溫、高溫500度、低溫-200度工況下的氣體、液體流量
·計量準確,精度可達到0.2%
·重復性好,一般為0.05~0.08%,測量快速
·壓力損失小,僅為標準孔板的1/2△P左右
·抗干擾,抗雜質能力特強
·可根據實際需要更換阻流件(靶片)而改變流量范圍
·低功耗電池現場顯示,能在線直讀示值,示屏可同時讀取瞬時和累積流量及百分比棒圖
·安裝簡單方便,易維護
·多種輸出形式,能遠傳各種參數
·抗震動性強,一定范圍內可測脈動流
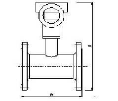
三、流量計外形及安裝尺寸
1、法蘭管道式

2、夾持式
3、插入式分為固定式和在線可拆卸式
a、固定式
b、在線可拆卸式
4、流量計法蘭連接
a、法蘭規格:公稱壓力0.6MPa~42.0MPa;
b、法蘭尺寸主要采用國家標準GB/T系列,并可采用化工行業標準HG系列、
機械行業標準JB/T系列,也可協商提供按照客戶要求的法蘭。
四、選型表
<
| * 聯系人: | 請填寫您的真實姓名 |
| * 手機號碼: | 請填寫您的聯系電話 |
| 電子郵件: | |
| * 采購意向描述: | |
| 請填寫采購的產品數量和產品描述,方便我們進行統一備貨。 | |
相關資訊
聯系奧科
固話:0517-86919886
傳真:0517-86919886
手機:15261725556
地址:江蘇金湖縣工業園區工一路




